人工智慧(AI)的浪潮正以前所未有的速度 ...
近年來,傳言蘋果(Apple)正在開發折 ...
除了 iPhone 16 系列,在 20 ...
蘋果似乎瞄準要在 2025 年發表折疊款 ...
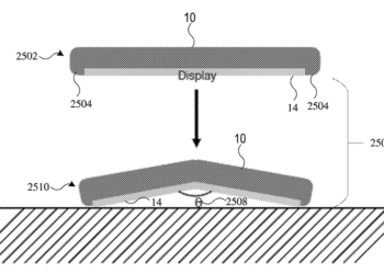
蘋果最近被外媒挖到了一個名為「Self- ...
歡迎手機廠商、iPhone 周邊產品業者、APP軟體開發商洽談合作或產品測試事宜 koc koc.com.tw |隱私政策 |主機維護:Fast Line 台灣速連,阿腸數位科技