為了緩解庫存問題,任天堂決定將基本版 Nintendo Switch 的主機包裝縮小 20%
基於許多因素,許多與電玩產業有關的裝置或 ...
基於許多因素,許多與電玩產業有關的裝置或 ...
打從於 2017 年正式上市至今,由任天 ...
8BitDo 以推出各種第三方遊戲手把、 ...
就在《Wii 運動》的正宗續作《Nint ...
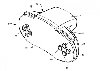
根據最新公開的一份專利文件,任天堂目前疑 ...
歡迎手機廠商、iPhone 周邊產品業者、APP軟體開發商洽談合作或產品測試事宜 koc koc.com.tw |隱私政策 |主機維護:Fast Line 台灣速連,阿腸數位科技