近日根據韓國智慧財產權資訊服務(KIPRIS)最新公開的專利文件與業內消息顯示,三星可能會在本月底發表旗下首款三摺疊智慧型手機:Galaxy Z TriFold ,根據專利文件顯示將搭載三螢幕內折與三電池結構。

三星首款三摺疊智慧型手機 Galaxy Z TriFold 專利文件曝光
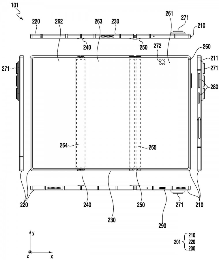
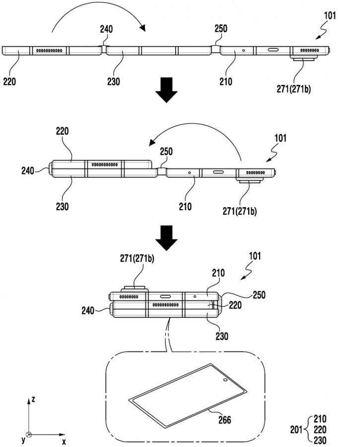
根據專利文件描述,Galaxy Z TriFold 採用三段式設計(Tri-Folding Mechanism),能夠從平板形態向內摺疊成手機大小的形態。與華為的三折疊手機折疊方式不同:
這樣的設計也與之前的爆料一致:
Here’s one more video that confirms the folding mechanism of Samsung’s multi-foldable. pic.twitter.com/xzELUjnZM3
— Highest (@TechHighest) September 5, 2025
這種設計的核心挑戰在於結構強度與電力配置,而三星的專利顯示,其已為此設計了三個獨立電池模組。專利示意圖指出:
-
最小的電池模組(T1) 位於包含三鏡頭主相機的區段;
-
第二大的電池(T3) 被安置於外部螢幕所在的部分;
-
最大電池(T2) 則位於中間段,當裝置摺疊時將被夾在兩側之間。
專利文件雖未揭露各電池的具體容量或總合電量,但業界推測,三星可能會在效能與續航之間尋求新的平衡,以彌補現有雙摺疊機種在續航上的不足。專利圖稿顯示,Galaxy Z TriFold 將採用三段鉸鏈結構,支援多角度摺疊,類似於筆電的轉軸機構。每一段摺疊面都需兼顧螢幕柔性、支撐力與散熱設計,而這對製造工藝提出極高要求。特別是中間段(T2 所在區域),作為裝置的結構核心與主要電池區,其厚度與熱管理將直接影響整體體驗。
早期傳聞指出,三星可能僅在 南韓與中國市場 首發 Galaxy Z TriFold,但近期消息顯示,該產品或將同步登陸 美國市場。根據內部消息人士透露,這款機型可能會在10月底前後正式發表,價格可能會突破3000美金。



