Twitch 女實況主用電極「電」耳朵「影響平衡感」,實現用 Xbox 控制器操控真人、模擬賽車 G 力
最近一位 Twitch 女實況主製作一個 ...
最近一位 Twitch 女實況主製作一個 ...
對桌機玩家來說,專屬於 PlayStat ...
你可能沒有玩過 Xbox 主機,但幾乎電 ...
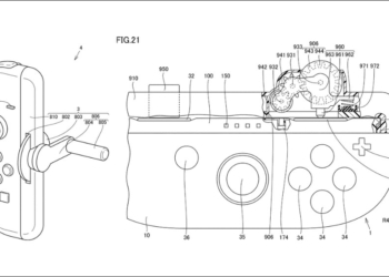
近期,一項來自 Sony 的專利被公開, ...
迎接將在 9 月 6 日於 PlaySt ...
稍早,任天堂宣布在日本率先推出 Swit ...
歡迎手機廠商、iPhone 周邊產品業者、APP軟體開發商洽談合作或產品測試事宜 koc koc.com.tw |隱私政策 |主機維護:Fast Line 台灣速連,阿腸數位科技